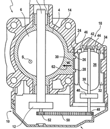
Electronic throttle control

Electronic throttle control (ETC) is an automobile technology which electronically "connects" the accelerator pedal to the throttle, replacing a mechanical linkage.[1] A typical ETC system consists of three major components: (i) an accelerator pedal module (ideally with two or more independent sensors), (ii) a throttle valve that can be opened and closed by an electric motor (sometimes referred to as an electric or electronic throttle body (ETB)), and (iii) a powertrain or engine control module (PCM or ECM).[2] The ECM is a type of electronic control unit (ECU), which is an embedded system that employs software to determine the required throttle position by calculations from data measured by other sensors, including the accelerator pedal position sensors, engine speed sensor, vehicle speed sensor, and cruise control switches. The electric motor is then used to open the throttle valve to the desired angle via a closed-loop control algorithm within the ECM.
The benefits of electronic throttle control are largely unnoticed by most drivers because the aim is to make the vehicle power-train characteristics seamlessly consistent irrespective of prevailing conditions, such as engine temperature, altitude, and accessory loads. Electronic throttle control is also working 'behind the scenes' to dramatically improve the ease with which the driver can execute gear changes and deal with the dramatic torque changes associated with rapid accelerations and decelerations.
Electronic throttle control facilitates the integration of features such as cruise control, traction control, stability control, and precrash systems and others that require torque management, since the throttle can be moved irrespective of the position of the driver's accelerator pedal. ETC provides some benefit in areas such as air-fuel ratio control, exhaust emissions and fuel consumption reduction, and also works in concert with other technologies such as gasoline direct injection.
A criticism of the very early ETC implementations was that they were "overruling" driver decisions. Nowadays, the vast majority of drivers have no idea how much intervention is happening. Much of the engineering involved with drive-by-wire technologies including ETC deals with failure and fault management. Many ETC systems have redundant pedal and throttle position sensors and controller redundancy, even as complex as independent microprocessors with independently written software within a control module whose calculations are compared to check for possible errors and faults.
Failure modes
There is no mechanical linkage between the accelerator pedal and the throttle valve with electronic throttle control. Instead, the position of the throttle valve (i.e., the amount of air in the engine) is fully controlled by the ETC software via the electric motor. But just opening or closing the throttle valve by sending a new signal to the electric motor is an open loop condition and leads to inaccurate control. Thus, most if not all current ETC systems use closed loop feedback systems, such as PID control, whereby the ECU tells the throttle to open or close a certain amount. The throttle position sensor(s) are continually read and then the software makes appropriate adjustments to reach the desired amount of engine power.
There are two primary types of throttle position sensors (TPS): a potentiometer or a non-contact sensor Hall Effect sensor (magnetic device). A potentiometer is a satisfactory way for non-critical applications such as volume control on a radio, but as it has a wiper contact rubbing against a resistance element, dirt and wear between the wiper and the resistor can cause erratic readings. The more reliable solution is the magnetic coupling, which makes no physical contact, so will never be subject to failing by wear. This is an insidious failure as it may not provide any symptoms until there is total failure. All cars having a TPS have what is known as a 'limp-home-mode'. When the car goes into the limp-home-mode it is because the accelerator and engine control computer and the throttle are not talking to each other in a way that they can understand. The engine control computer shuts down the signal to the throttle position motor and a set of springs in the throttle set it to a fast idle, fast enough to get the transmission in gear but not so fast that driving may be dangerous.
Software or electronic failures within the ETC have been suspected by some to be responsible for alleged incidents of unintended acceleration. A series of investigations by the U.S. National Highway Traffic Safety Administration (NHTSA) were unable to get to the bottom of all of the reported incidents of unintended acceleration in 2002 and later model year Toyota and Lexus vehicles. A February 2011 report issued by a team from NASA (which studied the source code and electronics for a 2005 Camry model, at the request of NHTSA) did not rule out software malfunctions as a potential cause.[3] In October 2013, the first jury to hear evidence about Toyota's source code (from expert witness Michael Barr (software engineer)) found Toyota liable for the death of a passenger in a September 2007 unintended acceleration collision in Oklahoma.[4]
References
- ↑ McKay, D., Nichols, G., and Schreurs, B., "Delphi Electronic Throttle Control Systems for Model Year 2000;Driver Features, System Security, and OEM Benefits. ETC for the Mass Market," SAE Technical Paper 2000-01-0556, 2000, http://www.carprogrammer.com/Z28/PCM/FAQ/Delphi_Drive_by_wire_2000-01-0556.pdf
- ↑ Garrick, R.D., Sensitivity of Contact Electronic Throttle Control Sensor to Control System Variation, Society of Automotive Engineers (SAE) Technical Paper, 2006-01-0763, April 2006. http://delphi.com/pdf/techpapers/2006-01-0763.pdf
- ↑ NHTSA-NASA Study of Unintended Acceleration in Toyota Vehicles, National Highway Traffic Safety Administration, 15 April 2011, retrieved 25 November 2013
- ↑ Hirsch, Jerry; Bensinger, Ken (25 October 2013). "Toyota settles acceleration lawsuit after $3-million verdict". Los Angeles Times. Retrieved 24 November 2013.
{{Navbox |name =Automotive engine |state =autocollapse |title =Automotive engine |listclass =hlist
|above =Part of the Automobile series
|group1 =Basic terminology |list1 =
- Compression ratio
- Crank
- Cylinder
- Dead centre
- Diesel engine
- Dry sump
- Engine balance
- Engine configuration
- Engine displacement
- Engine knocking
- Firing order
- Hydrolock
- Petrol engine
- Power band
- Redline
- Spark-ignition engine
- Stroke
- Stroke ratio
- Wet sump
|group2 =Main components |list2 =
- Connecting rod
- Crankcase
- Crankpin
- Crankshaft
- Crossflow cylinder head
- Crossplane
- Cylinder bank
- [[]
- Starter ring gear
- Sump
|group3 =Valvetrain |list3 =
- Cam
- Cam follower
- Camshaft
- Desmodromic valve
- Hydraulic tappet
- Multi-valve
- Overhead camshaft
- Overhead valve
- Pneumatic valve springs
- Poppet valve
- Pushrod
- Rocker arm
- Sleeve valve
- Tappet
- Timing belt
- Timing mark
- Valve float
- Variable valve timing
|group4 =Aspiration |list4 =
- Air filter
- Blowoff valve
- Boost controller
- Butterfly valve
- Centrifugal-type supercharger
- Cold air intake
- Dump valve
- Electronic throttle control
- Forced induction
- Inlet manifold
- Intake
- Intercooler
- Manifold vacuum
- Naturally aspirated engine
- Ram-air intake
- Scroll-type supercharger
- Short ram air intake
- Supercharger
- Throttle
- Throttle body
- Turbocharger
- Twin-turbo
- Variable-geometry turbocharger
- Variable-length intake manifold
- Warm air intake
|group5 =Fuel system |list5 =
- Carburetor
- Common rail
- Direct injection
- Fuel filter
- Fuel injection
- Fuel pump
- Fuel tank
- Gasoline direct injection
- Indirect injection
- Injection pump
- Lean-burn
- Stratified charge engine
- Turbo fuel stratified injection
- Unit injector
|group6 =Ignition |list6 =
- Contact breaker
- Magneto
- Distributor
- Electrical ballast
- High tension leads
- Ignition coil
- Spark plug
- Wasted spark
|group7 =
management
|list7 =
- Air–fuel ratio meter
- Alternator
- Automatic Performance Control
- Car battery (lead–acid battery)
- Crankshaft position sensor
- Dynamo
- Drive by wire
- Electronic control unit
- Engine control unit
- Engine coolant temperature sensor
- Glow plug
- Idle air control actuator
- MAP sensor
- Mass flow sensor
- Oxygen sensor
- Starter motor
- Throttle position sensor
|group8 =Exhaust system |list8 =
- Automobile emissions control
- Catalytic converter
- Diesel particulate filter
- Exhaust manifold
- Glasspack
- Muffler
|group9 =Engine cooling |list9 =
- Air cooling
- Antifreeze (ethylene glycol)
- Core plug
- Electric fan
- Fan belt
- Radiator
- Thermostat
- Water cooling
- Viscous fan (fan clutch)
|group10 =Other components |list10 =
- Balance shaft
- Block heater
- Combustion chamber
- Cylinder head porting
- Gasket
- Motor oil
- Oil filter
- Oil pump
- Oil sludge
- PCV valve
- Seal
- Synthetic oil
- Underdrive pulleys
|belowclass =hlist |belowstyle =font-weight:bold; |below =
- Portal
- Category
}}