Retarder (railroad)
The retarders grip the sides of the wheels on passing cars to slow them down.

Classification bowl of Kornwestheim classification yard (near Stuttgart, Germany). Two retarders are clearly visible in this photo.

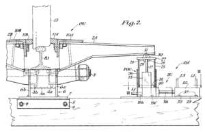
A type of car retarder. As the cylinder 15 pushes an end of the lever 2A, the rotation motion of the lever 2A pivoted at the rod 4a makes the brake shoe 11A at the opposite end thrust against the wheel 13, so as to brake the car. Peter M. Noble, United States Patent 3,827,533, 1974.
In rail transport, a retarder is a device installed in a classification yard used to reduce the speed of freight cars as they are sorted into trains.
Construction
Each retarder consists of a series of stationary brakes surrounding a short section of each rail on the track that grip and slow the cars' wheels through friction as they roll through them.[1]
Computer control
Modern retarders are computer controlled to apply a precise amount of pressure on the wheels so that cars rolling down a yard's hump are slowed to a safe speed for coupling with cars already standing on the yard's tracks.[2]
Inert retarder
An inert retarder holds a cut of classified railcars to keep them from rolling out of a yard.[3]
See also
References
- ↑ "Safety at the Switches". Popular Science Monthly. New York: Popular Science Publishing Co. 107 (4): 38. October 1925.
- ↑ Boyd, Jim (2001). The American Freight Train. MBI Publishing. p. 63. ISBN 978-0-7603-0833-2.
- ↑ U.S. Federal Railroad Administration, Washington, D.C. (1983). "Definitions: Inert retarder." Railroad Noise Emission Compliance Regulations. Code of Federal Regulations, 49 C.F.R. 210.5.
This article is issued from Wikipedia - version of the 10/5/2016. The text is available under the Creative Commons Attribution/Share Alike but additional terms may apply for the media files.