Sarah Boone
| Sarah Boone | |
|---|---|
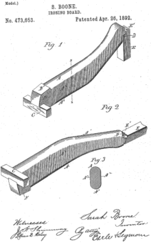
![]() The patent drawing for the ironing board invented by Sarah Boone. | |
| Born |
Sarah Marshall 1832 Craven County, North Carolina |
| Died |
1904 New Haven, Connecticut |
| Nationality | African American |
| Other names | Boon |
| Occupation | Inventor, Dressmaker, |
| Known for | Inventor of an ironing board improvement. |
Sarah Boone (1832-1904) was an African American inventor who on April 26, 1892, obtained United States patent rights for her improvements to the ironing board. Boone's ironing board was designed to improve the quality of ironing sleeves and the bodies of women's garments. The board was very narrow, curved, and made of wood. The shape and structure allowed it to fit a sleeve and it was reversible, so one could iron both sides of the sleeve.[1]
Boone was born Sarah Marshall in Craven County, North Carolina near the town of New Bern in February 1832. On November 25, 1847, in New Bern, she married a freedman named James Boone (or Boon);[2] they would have eight children.[3]
The Boone family left North Carolina for New Haven, Connecticut before the outbreak of the American Civil War; they settled into a house at 30 Winter Street.[4] James Boone worked as a brick mason[5] until his death in 1874 [6] while his wife was listed in New Haven directories as a dressmaker.[7]
Sarah Marshall Boone died in 1904 and is buried in a family plot in Evergreen Cemetery in New Haven.[8]
References
- ↑ Patent US473653 - IRONING-BOARD - Google Patents
- ↑ findagrave.com
- ↑ 1900 Federal Census
- ↑ 1880 Federal Census for New Haven County (Connecticut) Enumeration District 91, Sheet 46, Lines 46-50 and Sheet 47, Line 1
- ↑ 1870 Federal census for the First Ward of the City of New Haven, New Haven County, Connecticut, 88
- ↑ findagrave.com
- ↑ New Haven City Directory for 1885... (New Haven: Price & Lee, 1885), 460
- ↑ findagrave.com
