Shoe size
A shoe size is an alphanumerical indication of the fitting size of a shoe for a person. Often it just consists of a number indicating the length because many shoemakers only provide a standard width for economic reasons. There are several different shoe-size systems that are used worldwide. These systems differ in what they measure, what unit of measurement they use, and where the size 0 (or 1) is positioned. Only a few systems also take the width of the feet into account. Some regions use different shoe-size systems for different types of shoes (e.g., men's, women's, children's, sport, or safety shoes).
Deriving the shoe size
Foot versus shoe and last
The length of a foot is commonly defined as the distance between two parallel lines that are perpendicular to the foot and in contact with the most prominent toe and the most prominent part of the heel. Foot length of the foot is measured with the subject standing barefoot and the weight of the body equally distributed on both feet.
The sizes of the left and right feet are often slightly different. In this case, both feet are measured, and purchasers of mass-produced shoes are advised to purchase a shoe size based upon the larger foot because, contrary to the reality of foot sizes, most manufacturers do not sell pairs of shoes in non-matching sizes. Each size of shoe is considered suitable for a small interval of foot lengths. The inner cavity of a shoe must typically be 15–20 mm longer than the foot, but this relation varies between different types of shoes.
A shoe-size system can refer to three characteristic lengths:
- The median length of feet for which a shoe is suitable. For customers, this measure has the advantage of being directly related to their body measures. It applies equally to any type, form, or material of shoe. However, this measure is less popular with manufacturers, because it requires them to test carefully for each new shoe model, for which range of foot sizes it is recommendable. It puts on the manufacturer the burden of ensuring that the shoe will fit a foot of a given length.
- The length of the inner cavity of the shoe. This measure has the advantage that it can be measured easily on the finished product. However, it will vary with manufacturing tolerances and provides the customer only very crude information about the range of foot sizes for which the shoe is suitable.
- The length of the "last", the foot-shaped template over which the shoe is manufactured. This measure is the easiest one for the manufacturer to use, because it identifies only the tool used to produce the shoe. It makes no promise about manufacturing tolerances or for what size of foot the shoe is actually suitable. It leaves all responsibility and risk of choosing the correct size with the customer. Further, the last can be measured in several different ways resulting in different measurements.[1]
All these measures differ substantially from one another for the same shoe.
Length
Sizing systems also differ in what units of measurement they use. This also results in different increments between shoe sizes because usually, only "full" or "half" sizes are made.
The following length units are commonly used today to define shoe-size systems:
- The Paris point equates to 2⁄3 centimetre (6.6 mm or ~0.26 in). This means an increment of 2⁄3 centimetre ( 1⁄4 inch) between whole sizes, and 1⁄3 centimetre ( 1⁄8 inch) between half sizes. This unit is commonly used in Continental Europe.
- The barleycorn is an old English unit that equates to 1⁄3 inch (8.46 mm). Half sizes are commonly made, resulting in an increment of 1⁄6 inch (4.23 mm). This measure is the basis for current U.K. and U.S. shoe sizes, with the largest shoe size taken as twelve inches (a size 12) and then counting backwards in barleycorn units.
- Further, metric measurements in centimetres (cm) or millimetres (mm) are used. The increment is usually 0.5 cm (5 mm or ~0.20 in). It is used with the international Mondopoint system and with the Asian system.
Due to the different units of measurements, converting between different sizing systems results in rounding errors as well as unusual sizes such as " 10 2⁄3".
Zero point
The sizing systems also place size 0 (or 1) at different locations:
- If size 0 is placed at a foot's length of 0, the shoe size is directly proportional to the length of the foot in the chosen unit of measurement. Sizes of children's, men's, and women's shoes, as well as sizes of different types of shoes, can be compared directly. This is used with the Mondopoint and the Asian system.
- However, size 0 can also represent a length of the shoe's inner cavity of 0. The shoe size is then directly proportional to the inner length of the shoe. This is used with systems that also take the measurement from the shoe. While sizes of children's, men's and women's shoes can be compared directly, this is not necessarily true for different types of shoes that require a different amount of "wiggle room" in the toe box. This is used with the Continental European system.
- Further, size 0 (or 1) can just be a shoe with a given length, typically the shortest length deemed practical. This can be different for children's, teenagers', men's, and women's shoes, making it impossible to compare sizes. For example, a women's shoe at size 8 is a different length from a men's shoe at size 8 in the US system, but not the British.
Width
Some systems also include the width of a foot. There are different methods indicating the width:
- The measured width is indicated in millimetres (mm). This is done with the Mondopoint system.
- The measured width is assigned a letter (or combination of letters), which is taken from a table (indexed to length and width) or just assigned on an ad-hoc basis: Examples include (each starting with the narrowest width):
- A, B, C, D, E, EE, EEE, EEEE, F, G (typical North American system; medium being D)
- 4A, 3A, 2A, A, B, C, D, E, 2E, 3E, 4E, 5E, 6E (variant North American)
- C, D, E, F, G, H (common UK; "medium" is usually F, but varies by manufacturer—makers Edward Green and Crockett & Jones, among others, use E instead, but one maker's E is not necessarily the same size as another's).
- N (narrow), M (medium) or R (regular), W (wide)
The width for which these sizes are suitable can vary significantly between manufacturers. The A-E width indicators used by most American, Canadian, and some British shoe manufacturers are typically based on the width of the foot, and common step sizes are 3⁄16 inch.
Common sizing systems
Mondopoint
The International Standard is ISO 9407:1991, "Shoe sizes—Mondopoint system of sizing and marking",[2] which recommends a shoe-size system known as Mondopoint.
It is based on the mean foot length and width for which the shoe is suitable, measured in millimetres. A shoe size of 280/110 indicates a mean foot length of 280 millimetres (11 in) and width of 110 millimetres (4.3 in).
Because Mondopoint also takes the foot width into account, it allows for better fitting than most other systems. It is, therefore, used by NATO and other military services. Mondopoint is also used for ski boots.
European standard EN 13402, used also for clothes, recommends instead that shoes be labelled with the interval of foot lengths for which they are suitable, measured in centimetres.
United Kingdom and Ireland
Shoe size in the United Kingdom and Ireland is based on the length of the last used to make the shoes, measured in barleycorn ( 1⁄3 inch) starting from the smallest size deemed practical, which is called size zero. It is not formally standardised. Note that the last is typically longer than the foot heel to toe length by about 1/2 to ⅔ inch (13 to 17 mm).
A child's size zero is equivalent to 4 inches (a hand = 12 barleycorns = 10.16 cm), and the sizes go up to size 13 1⁄2 ( 8 1⁄2 in, 25 1⁄2 barleycorns or 21.59 cm). Thus, the calculation for a children’s shoe size in the UK is:
equivalent to
An adult size one is then the next size up ( 8 2⁄3 in or 22.01 cm) and each size up continues the progression in barleycorns.[3] The calculation for an adult shoe size in the UK is thus:
equivalent to
Note: some manufacturers choose to use a constant other than 25, so sizes do vary in either direction e.g. A shoe marked as a European size 40 may also be marked as a UK: 6 by Jimmy Choo, Nike; a 6 1⁄2 by Adidas, Clarks, Dr Martens, Fred Perry, Karrimor, Monsoon, New Balance, Reebok, and Slazenger; a 7 by Converse, Gap, Pavers, and Timberland; and a 7 1⁄2 by Crocs.
Australia / New Zealand
For men and children's footwear the UK system is followed. Women's footwear has a slightly different sizing that is unique. It is in between the UK and US's sizings.
United States and Canada
In North America, there are different systems that are used concurrently. The size indications are usually similar but not exactly equivalent especially with athletic shoes at extreme sizes.
Customary
The traditional system is similar to English sizes but start counting at one rather than zero, so equivalent sizes are one greater. This is similar to the way that floors in buildings are numbered; the British count the ground floor as zero, whereas the Americans count the ground floor as one.
So the calculation for a male shoe size in the USA or Canada is:
Women's sizes are almost always determined with the "common" scale, in which women's sizes are equal to men's sizes plus 1.5 (for example, a men's 10.5 is a women's 12). In other words:
In the less popular scale, known as the "standard" or "FIA" (Footwear Industries of America) scale, women's sizes are men's sizes plus 1 (so a men's 10.5 is a women's 11.5).
Children's
Children's sizes are equal to men's sizes plus 12 1⁄3. Children’s sizes do not differ by gender even though adults’ do.
Children's shoe stores in the United States and Canada use a sizing scheme which ends at 13, after which the adult range starts at 1.
| Size | Last length | ||||
|---|---|---|---|---|---|
| Children's | Women's | Men's | Inches | Millimetres (appr.) | |
| Common | FIA | ||||
| 5 | 5 5⁄9 | 141 | |||
| 6 | 5 8⁄9 | 150 | |||
| 7 | 6 2⁄9 | 158 | |||
| 8 | 6 5⁄9 | 167 | |||
| 9 | 6 8⁄9 | 175 | |||
| 10 | 7 2⁄9 | 183 | |||
| 11 | 7 5⁄9 | 192 | |||
| 1 | 7 5⁄6 | 199 | |||
| 12 | 7 8⁄9 | 200 | |||
| 1 | 8 | 203 | |||
| 2 | 8 1⁄6 | 207 | |||
| 13 | 8 2⁄9 | 209 | |||
| 2 | 1 | 8 1⁄3 | 212 | ||
| 3 | 8 1⁄2 | 216 | |||
| 3 | 2 | 8 2⁄3 | 220 | ||
| 4 | 8 5⁄6 | 224 | |||
| 4 | 3 | 9 | 229 | ||
| 5 | 9 1⁄6 | 233 | |||
| 5 | 4 | 9 1⁄3 | 237 | ||
| 6 | 9 1⁄2 | 241 | |||
| 6 | 5 | 9 2⁄3 | 246 | ||
| 7 | 9 5⁄6 | 250 | |||
| 7 | 6 | 10 | 254 | ||
| 8 | 7 | 10 1⁄3 | 262 | ||
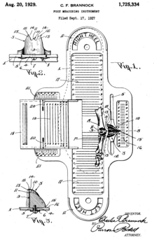
Brannock Device

A slightly different sizing method is based on the Brannock Device, a measuring instrument invented by Charles F. Brannock in 1925 and now found in many shoe stores. The formula used by the Brannock device assumes a foot length ⅔ inch (1.7 cm) less than the length of the last; thus, men's size 1 is equivalent to a foot's length of 7 ⅔ inches.[4] Women's sizes are one size up.
The method also measures the length of the distance of the heel and the widest point of the foot. For that purpose, the device has another, shorter scale at the side of the foot. If this scale indicates a larger size, it is taken in place of the foot's length.[6]
For children's sizes, additional wiggle room is added to allow for growth.[6]
The device also measures the width of the foot and assigns it designations of AAA, AA, A, B, C, D, E, EE, or EEE. The widths are 3/16 in apart and differ by shoe length.[4]
Foot Scanner
Some shoe stores use optical devices to precisely measure the length and width of both feet and recommend the appropriate shoe model and size.
Europe
The Continental European system is used in France, Germany,[7] Italy, Spain,[8] and most other continental European countries. It is also used in Middle Eastern countries (like Iran), Brazil—which uses the same method but subtracts 2 from the final result— and, commonly, Hong Kong.
In this system, the shoe size is the length of the last, expressed in Paris points, for both sexes and for adults and children alike. Because a Paris point is ⅔ of a centimetre, the formula is as follows:
To compute the size based on actual foot length, one must first add a length of about 1.5 to 2 cm. For instance, for a shoe having an internal length 1.5 cm longer than the foot:
Asia
The Asian system is based on metric measurements and standardised as JIS S 5037:1998, CNS 4800, S 1093, or KS M 6681. Foot length and girth are taken into account.[9]
The foot length is indicated in centimetres; an increment of 5 mm is used. This system was also used in the GDR.
The length is followed by designators for girth (A, B, C, D, E, EE, EEE, EEEE, F, G), which is taken from a table indexed to girth and length. There are different tables for men's, women's, and children's (less than 12 years of age) shoes. The tables also include the width as supplemental indications. Not all designators are used for all genders and in all countries. For example, the largest girth for women in China is EEEE, whereas in Japan, it is F.
Mexico
Shoes are sized either according to the foot length they are intended to fit, in cm, or alternatively to another variation of the barleycorn system, with sizes calculated approximately as:
USSR (Russia / CIS)
Historically the USSR used the European (Paris point) system but an alternate metric system (State Standard 3927–64) was devised, with shoe sizes increasing in ½ rather than the ⅔ cm intervals found in the European scheme. This system has been refined by later standards:
- GOST 9133-1978 Determination of linear dimensions of footwear,
- GOST 24382-1980 sneakers size,
- GOST R 54592-2011 Footwear. Methods for determination of linear dimensions.
Where used this system is sometimes described as a Pointe (ballet shoe) or Stych size:
| Foot Length (mm) | 105 | 110 | 115 | 120 | 125 | 130 | 135 | 140 | 145 | 150 | 155 | 160 | 165 | 170 | 175 | 180 | 185 | 190 | 195 | 200 | 205 | 210 | 215 | 220 | 225 | 230 | 235 | 240 | 245 | 250 | 255 | 260 | 265 | 270 | 275 | 280 | 285 | 290 | 295 | 300 | 305 | 310 | 315 |
|---|---|---|---|---|---|---|---|---|---|---|---|---|---|---|---|---|---|---|---|---|---|---|---|---|---|---|---|---|---|---|---|---|---|---|---|---|---|---|---|---|---|---|---|
| Children's | 17 | 18 | 19 | 19½ | 20 | 21 | 22 | 22½ | 23 | 24 | 25 | 25½ | 26 | 27 | 28 | 28½ | 29 | 30 | 31 | 31½ | 32 | 33 | 34 | 34½ | 35 | 36 | 37 | 37½ | 38 | 39 | 40 | ||||||||||||
| Women's | 34 | 35 | 36 | 37 | 37½ | 38 | 38½ | 39 | 40 | 41 | 41½ | 42 | 42½ | ||||||||||||||||||||||||||||||
| Men's | 38½ | 39 | 40 | 41 | 41½ | 42 | 42½ | 43 | 44 | 45 | 46 | 47 | 47½ |
Difficulties in shoe size comparison
Please note that the following tables indicate theoretical sizes calculated from the standards and information given above. Differences between various shoe size tables, makers' tables or other tables found on the Web are usually due to the following factors:
- The systems are not fully standardised. Differences between shoes from different makers, which are due to different methods of measuring the shoes, different manufacturing processes, or different allowances[1] are sometimes related to different countries. A “German” size may then differ from a “French” size, although both countries use the Continental European system.
- Different widths may have the result that for wide feet, a shoe multiple sizes larger (and actually too long) may be required. This may also result in different size indications, especially if different typical widths are attributed to different sizing systems or countries.
- Some tables for children take future growth into account. The shoe size is then larger than what would correspond to the actual length of the foot.[6]
- An indication in centimetres or inches can mean the length of the foot or the length of the shoe's inner cavity. This relation is not constant but varies due to different amounts of wiggle room required for different sizes of shoes.
- There are several U.S. systems, which differ substantially for sizes far above or below medium sizes.
Further, some tables available on the Web simply contain errors. For example, the wiggle room or different zero point is not taken into account, or tables based on different U.S. systems (traditional and athletic) are simply combined although they are incompatible.
See also
References
- 1 2 Andersson, Bendt. "Recommendations to suppliers and manufacturers of orthopedic footwear concerning sizes of shoes and lasts" (PDF) (in Swedish). Retrieved 2009-01-06.
- ↑ International Standard ISO 9407:1991, Shoe sizes—Mondopoint system of sizing and marking
- ↑ Cairns, Warwick. About the Size of It. Macmillan. ISBN 978-0-230-01628-6.
- 1 2 Brannock Device Co. "History". Retrieved 2009-01-06.
- 1 2 Brannock Device Co. "Size Conversion Chart". Retrieved 2010-04-20.
- 1 2 3 Brannock Device Co. "Instructions". Retrieved 2009-01-06.
- ↑ German Standard DIN 66074:1975, Shoe sizes
- ↑ Spanish Standard UNE 59850:1998, Shoes: Size designation
- ↑ (Japanese) Rakuten.co.jp