Antonio Stradivari
| Antonio Stradivari | |
|---|---|
![]() | |
| Born | 1644 in Cremona |
| Died | 1737 in Cremona (aged 93) |
| Nationality | Italian |
| Occupation | luthier |
| Years active | 1656-1737 |
| Spouse(s) |
|
| Children |
|
Antonio Stradivari (Italian pronunciation: [anˈtɔːnjo stradiˈvaːri]; 1644 – 18 December 1737) was an Italian luthier and a crafter of stringed instruments such as violins, cellos, guitars, violas and harps.[1] Stradivari is generally considered the most significant and greatest artisan in this field. The Latinized form of his surname, Stradivarius, as well as the colloquial "Strad" are terms often used to refer to his instruments. The Hills Violin Shop estimate that Antonio produced 1,116 instruments, of which 960 were violins. It is also estimated that around 650 of these instruments survive,[2] including 450[3] to 512[4] violins.
Biography
Family background and early life

Antonio Stradivari’s birthdate, presumably between 1644 and 1649, has been debated amongst historians due to the numerous inconsistencies in the evidence of the latter. The 1668 and 1678 censuses report him actually growing younger, a fact explained by the probable loss of statistics from 1647–49, when renewed belligerency between France’s Modenese and Spain’s Milanese proxies led to a flow of refugees that included Stradivari’s mother.
Stradivari's ancestry consisted of notable citizens of Cremona, dating back to at least the 12th or 13th century. The earliest mention of the family name, or a variation upon it, is in a land grant dating from 1188.[5] The origin of the name itself has several possible explanations; some sources say it is the plural of Stradivare, essentially meaning "toll-man" in Lombard, while others say that the form "de Strataverta" derives from Strada averta, which, in Cremonese dialect means "open road."[6]
Antonio's parents were Alessandro Stradivari, son of Giulio Cesare Stradivari, and Anna Moroni, daughter of Leonardo Moroni.[7] They married on 30 August 1622, and had at least three children between 1623 and 1628: Giuseppe Giulia Cesare, Carlo Felice, and Giovanni Battista. The baptismal records of the parish of S. Prospero then stop, and it is unknown whether they had any children from 1628 to 1644.[8] This blank in the records may be due to the family leaving Cremona in response to war, famine, and plague in the city from 1628 to 1630,[9] or the records may have been lost due to clerical reforms imposed by Joseph II of Austria in 1788.[10] The latter explanation is supported by the word Cremonensis (of Cremona) on many of Stradivari's labels, which suggests that he was born in the city instead of merely moving back there to work.[11] Antonio was born in 1644, a fact deducible from later violins.[12] However, there are no records or information available on his early childhood, and the first evidence of his presence in Cremona is the label of his oldest surviving violin from 1666.[13]
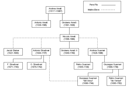
Stradivari likely began an apprenticeship with Nicolò Amati between the ages of 12 and 14,[14] although a minor debate surrounds this fact. One of the few pieces of evidence supporting this is the label of his 1666 violin, which reads, Alumnus Nicolai Amati, faciebat anno 1666.[15] However, Stradivari did not repeatedly put Amati's name on his labels, unlike many of his other students.[16] Stradivari's early violins actually bear less resemblance to those of Amati than his later instruments do.[12] M. Chanot-Chardon, a well-known French luthier, asserted that his father had a label of Stradivari's stating, "Made at the age of thirteen, in the workshop of Nicolò Amati". This label has never been found or confirmed.[15] Amati would also have been a logical choice for Antonio's parents, as he represented an old family of violin makers in Cremona, and was far superior to most other luthiers in Italy.[14]
An alternative theory is that Stradivari started out as a woodworker: the house he lived in from 1667 to 1680 was owned by Francesco Pescaroli, a woodcarver and inlayer. Stradivari may even have been employed to decorate some of Amati's instruments, without being a true apprentice. This theory is supported by some of Stradivari's later violins, which have elaborate decorations and purfling.[17]
Assuming that Stradivari was a student of Amati, he would have begun his apprenticeship in 1656–58 and produced his first decent instruments in 1660, at the age of 16. His first labels were printed from 1660 to 1665, which indicates that his work had sufficient quality to be offered directly to his patrons. However, he probably stayed in Amati's workshop until about 1684, using his master's reputation as a launching point for his career.[18]
First marriage

Stradivari married his first wife, Francesca Ferraboschi, on 4 July 1667.[19] Francesca was the young widow of the burgher Giacomo Capra, with whom she had two children. Francesca's brother had shot Giacomo with a crossbow on the Piazza Garibaldi (formerly the Piazza Santa Agata) in 1664. He was later exiled, though allowed to return to Cremona many years later.[20] After their marriage, Stradivari moved into a house known as the Casa del Pescatore, or the Casa Nuziale, in his wife's parish. A clue to how they would have met lies in the 1659 Easter census, which lists the Ferraboschi family four houses away from the Amati residence. The couple had a daughter, Giulia Maria, three to four months later.[21] They remained in the house until 1680, during which time they had four more children: Catterina, Francesco, Alessandro, and Omobono Stradivari, as well as an infant son who lived for only a week.[22] It is to be noted that an age difference of four to nine years was uncommon between wedded couples at the time.
Stradivari purchased a house now known as No. 1 Piazza Roma (formerly No. 2 Piazza San Domenico) around 1680 for the sum of 7000 lire, 2000 of which he paid at the time of the purchase. The totality of the house was paid for by 1684.[21] The residence was just doors away from those of several other violin making families of Cremona, including the Amatis and Guarneris.[23] Stradivari probably worked in the loft and attic, and he stayed in this house for the rest of his life.[24]
Stradivari's wife Francesca died on 20 May 1698, and received an elaborate funeral five days later.[25]
Second marriage
Stradivari married his second wife, Antonia Maria Zambelli, on 24 August 1699. The only information known about her is that she was 35 at the time of the marriage. They had five children from 1700 to 1708—Francesca Maria, Giovanni Battista Giuseppe, Giovanni Battista Martino, Giuseppe Antonio, and Paolo.[25]
Death
Stradivari died on 18 December 1737, aged 93. He is buried in the Church of San Domenico.[26] The tomb was acquired 8 years prior to his death, having been bought from a Cremonese family, substituting their name for his in the tombstone.
Will
His will, dated 1729, is one of the closest approximations we can give to how Stradivari ran his family. Counting his wife, there were eight living heirs at the time Stradivari wrote the draft. Zambelli was left with her clothing, half of her jewelry, bed linens and household items. Antonio declared she would become the responsibility of his two eldest sons. As for Annnunciata Caterina, Antonio left her jewelry, income on loans, clothing and linens. Paolo, the youngest child, was to get six finished violins as well as some household effects and cash. Three other children who had joined religious orders were left with their share of inheritance. Maria, a nun, would get an annuity, Alessandro, a priest, would get fixed income on a home mortgage loan and Giuseppe, another priest would get some income on half a share from a pastry shop. There were also annual payments to his two sons of 150 and 300 lire each, 170 lire for Annunciata as well as 100 for Francesca. To put this into perspective, six violins were valued at approximately 1000 lire, or about 150 lire each.[27]
We are now left with two sons from Antonio’s first marriage who worked in the family shop: Omobono and Franceso. As Omobono had left the dwelling aged eighteen in search of new employment possibilities in Naples, he left Antonio to pay for much of his living expenses. In this sense, his father had never really forgiven him for leaving home. Just as Paolo, he would inherit six violins. That was all that was written on the will for him. As For Francesco, who was named his father’s successor, he would inherit the rest of his father’s belongings, the rest of the estate. This included all of the wood tools, stencils, finished violins, patterns, not to mention, his father’s reputation.[28]
Many events in the family’s history testify to the substantial wealth Antonio generated. For example, in 1733, Stradivari bought his youngest son a partnership in a local textile firm for the large amount of 25,000 lire. In comparison, he had bought his house in 1680 for 7,000 lire. Also, allowing mild inflation, Antonio made a loan of 12,000 lire in 1714. In 1715, under unknown circumstances, Giuseppe Guarneri borrowed 1,000 lire from Stradivari and later defaulted on the loan. Giuseppe worked almost all his life in Stradivari's shadow, just as his father, the elder Giuseppe filius Andreae did.
Career
Early career
Stradivari likely developed his own style slowly. His violins often used slightly smaller dimensions. A notable exception to this is the 1697 Hellier violin, which had much larger proportions.[29] Stradivari's early (pre-1684) violins are in strong contrast to Amati's instruments from the same time period; Stradivari's have a stronger, more masculine build, and less rounded curves, with the purfling set farther in.[30][31]
By 1680, Stradivari had acquired at least a small, yet growing, reputation. In 1682, a Venetian banker ordered a complete set of instruments, which he planned to present to King James II of England.[32] The fate of these instruments is unknown. Cosimo de' Medici bought another five years later.[33] Amati died in 1684, an event followed by a noticeable increase in Stradivari's production.[32] The years 1684 and 1685 also marked an important development in his style – the dimensions he used generally increased, and his instruments were more in the style of Amati's work of the 1640s and 1650s.[34] Stradivari's instruments underwent no major change in the next five years,[35] although in 1688 he began cutting a more distinct bevel and began outlining the heads of instruments in black, a quite original improvement.[36]
Stradivari's early career is marked by wide experimentation, and his instruments during this period are generally considered of a lesser quality than his later work.[37] However, the precision with which he carved the heads and inserted the purfling quickly marked him as one of the most dextrous craftsmen in the world, a prime example of this being the 1690 "Tuscan" violin.[38] Pre-1690 instruments are sometimes termed "Amatisé" but this is not completely accurate; it is largely because Stradivari created many more instruments later on that people try to connect his early work with Amati's style.[39]
By 1680 Stradivari moved to No. 1 Piazza Roma (formerly No. 2 Piazza San Domenico).[21] The house was just doors away from those of several other violin making families of Cremona, including the Amatis and Guarneris.[23] Stradivari probably worked in the loft and attic, and he stayed in this house for the rest of his life.[24]
"Golden" period and later years
In the early 1690s, Stradivari made a pronounced departure from this earlier style of instrument-making, changing two key elements of his instruments. First, he began to make violins with a larger pattern than previous instruments; these larger violins usually are known as "Long Strads".[40] He also switched to using a darker, richer varnish, as opposed to a yellower varnish similar to that used by Amati.[41] He continued to use this pattern until 1698, with few exceptions. After 1698, he abandoned the Long Strad model and returned to a slightly shorter model, which he used until his death. The period from 1700 until the 1720s is often termed the "golden period" of his production.[42] Instruments made during this time are usually considered of a higher quality than his earlier instruments. Late-period instruments made from the late 1720s until his death in 1737 show signs of Stradivari's advancing age. These late instruments may be a bit less beautiful than the Golden Period instruments, but many nonetheless possess a fine tone. Heavier and looser craftmanship of the late Stradivari output can be seen in the 1734 'Habeneck'.
Stradivari and the Cremonese violin making school
Influence in the 18th century
San Matteo, the Stradivari parish, as well as San Faustino, the Amati parish, made up the center of Cremonese violin making.They exerted influence not only on one another, in terms of the shape, varnish and sound of instruments, but also on many of their contemporaries; they defined violin making standards for the next 300 years.
Even at the beginning of the 18th century, Stradivari’s influence could be seen not only in the work of Cremonese makers, but also international ones, such as Barak Norman’s, one of the first important British makers. In the 1720s Daniel Parker, a very important British luthier, produced fine violins after Stradivari’s work selling anywhere from £30,000 - £60,000 in recent auctions. Parker based his best instruments on Stradivari's` `long pattern`, having the opportunity to study one or more of the instruments. Well into the 19th century, Jean Baptiste Vuillaume, the leading French luthier of his time, also made many important copies of Strads and Guarneris.
In the 18th century, Cremonese luthiers were the suppliers and local players on the demand side. After Stradivari’s death, this drastically changed. Although the Cremonese luthiers remained the suppliers, the demand side consisted of collectors, researchers, imitators, profiteers and speculators. Many local players could no longer afford the sought out instruments and most of the purchased instruments would be hidden in private collections, put in museums, or would be simply put back in their cases, hoping that they would gain value over time. It is then that the so-called ‘fever’ for Stradivaris took off. Cozio, Tarisio and Vuillaume were the fathers of this frenzy that would extend well into the 21st century. Also, soon after Stradivari’s death, most of the other major Cremonese luthiers would die, putting an end to the golden period of Cremona’s violin making, which lasted more than 150 years, starting with the Amatis and ending with the Cerutis.
Members of the Gagliano family such as Gennaro and Nicolo made excellent copies of the instruments in the 1740s, though the only similarity to Stradivari's instruments were the execution of the form and arching as well as consistently fine and detailed varnish. Nicolo would usually use the forma B model for his cellos and as the quality of the output steadily declined within the family, the Stradivari models were almost abandoned in Naples.
Having acquired many Strads from Paolo Stradivari, Count Cozio commissioned some replicas of the instruments to Giovanni Battista Guadagnini. Although many features of Strads are present in the copies, they still remain heavily influenced by Guadagnini's workshop principles and represent well the maker's Turin period.
Vincenzo Panormo was also one of the many luthiers who based many of his violins on Strads. He learned about them in Paris around 1779 and 1789 when he worked closely with Léopold Renaudin, another one of Strad's followers. Stradivari's influence could also be seen in Spain with the outstanding work of José Contreras of Granada and Madrid. Having the privilege to be exposed to Stradivari's instruments through the Spanish court, he was experienced enough to replace the scroll of a 1717 Stradivari cello and possibly even make its back and ribs. He had a great ability to imitate the original varnish and intricacy of the instrument.[43]
Influence in the 19th and 20th century
The 19th century was not as eventful in comparison to the previous centuries. Some of the most important luthiers from this part of history include Rota and Chanot. This century was home to the many experimental violins from Francois Chanot and William Sidney Mount (non-Italian makers).
The 20th century was the so-called rebirth of Cremonese making, when luthiers such as Rocca, Morassi, Beltrami, Antoniazzi emerged from a seemingly uneventful and experimental period. These makers, sometimes basing their early violins on Strads, would later on make their own models and would inspire each other’s work.

Stradivari and his sons
Even though Antonio had a very long working life, it is impossible for him to have crafted more than 1000 instruments entirely by himself, meaning that his sons, Francesco and Omobono, as well as possibly a third son, must have been working on and off in his shop. We know that having left the workshop at eighteen, Omobono made a few instruments on his own, such as the newly discovered ‘Blagrove’ and another violin dating from 1732. On his side, Francesco made very few violins independently, such as the 1742 ‘Salabue’ and ‘Oliveira’, spending his lifetime in his father’s shop. This was one of the main reasons that Francesco had a large part in Antonio’s will, and Omobono a lesser one. One of the major differences between Antonio and his sons' craftsmanship was the quality of the purfling on their instruments. Francesco and Omobono are referred to as being "startlingly poor" by John Dilworth in an online article on Tarisio.com about Stradivari’s sons (2015).
« Only a handful of instruments are reliably attributed to Francesco alone. […][There are only] two authentic labels known: ‘Franciscus Stradivarius Cremonensis / Filius Antonii faciebat Anno 1742’[…]. Notably it omits the A+S stamp that occurs on Antonio’s labels. Another label states ‘Sotto la Disciplina d’Antonio / Stradivari F. in Cremona 1737’. This is of course the year of his father’s death, and the phrase ‘sotto la disciplina’, although it appears in a few other instruments, may here be a particular sign of his respect.[…]»[44]
Stradivarius instruments

Stradivari's instruments are regarded as amongst the finest bowed stringed instruments ever created, are highly prized, and are still played by professionals today. Only one other maker, Giuseppe Guarneri del Gesù, commands a similar respect among violinists. However, neither blind listening tests nor acoustic analysis have ever demonstrated that Stradivarius instruments are better than other high-quality instruments or even reliably distinguishable from them.[45][46][47][48]
Fashions in music, as in other things, have changed over the centuries, and the supremacy of Stradivari's and Guarneri's instruments is accepted only today. In the past, instruments by Nicolò Amati and Jacob Stainer were preferred for their subtle sweetness of tone.
While the usual label for a Stradivarius instrument, whether genuine or false, uses the traditional Latin inscription, after the McKinley Tariff Act of 1890, copies were also inscribed with the country of origin. Since thousands of instruments are based on Stradivari's models and bear the same name as his models, many unwary people are deceived into purchasing forged Stradivarius instruments, which can be avoided by having an instrument authenticated.
Some violinists and cellists use Stradivari instruments in their work. Yo-Yo Ma currently uses the Davidov Stradivarius,[49] Julian Lloyd Webber employs the Barjansky Stradivarius,[50] and, until his death in 2007, Mstislav Rostropovich played on the Duport Stradivarius.[51] The Soil of 1714 is owned by virtuoso Itzhak Perlman.[52] The Countess Polignac is currently played by Gil Shaham.[53] The Vienna Philharmonic uses several Stradivari instruments that were purchased by the National Bank of Austria and other sponsors: Chaconne, 1725; ex-Hämmerle, 1709; ex-Smith-Quersin, 1714; ex-Arnold Rosé, ex-Viotti, 1718; and ex-Halphen, 1727. Viktoria Mullova owns and plays the Jules Falk.
The London sales of The Mendelssohn at £902,000 ($1,776,940) in 1990[54] and The Kreutzer for £947,500 in 1998[55] constitute two top-selling Stradivari. A record price paid at a public auction for a Stradivari was $2,032,000 for the Lady Tennant at Christie's in New York, April 2005.[56] On 16 May 2006, Christie's auctioned Stradivari's 1707 Hammer for a new record of US$3,544,000.[57] On 2 April 2007, Christie's sold a Stradivari violin, the 1729 Solomon, Ex-Lambert, for more than $2.7 million to an anonymous bidder in the auction house's fine musical instruments sale. Its price, US$2,728,000 including the Christie's commission, far outdid its estimated value: $1 million to $1.5 million.[58] On 14 October 2010, a 1697 Stradivari violin known as "The Molitor" was sold online by Tarisio Auctions for a world-record price of $3,600,000 to renowned concert violinist Anne Akiko Meyers: at the time its price was the highest for any musical instrument sold at auction. On 21 June 2011, a 1721 Stradivari violin known as "Lady Blunt" was auctioned by Tarisio to an anonymous bidder for £9,808,000 with all proceeds going to help the victims of the Japan earthquake.[59] This was over four times the previous auction record for a Stradivari violin. The c. 1705 Baron von der Leyen Strad was auctioned by Tarisio on 26 April 2012, for $2.6 million.[60]
Publicly displayed collections of Stradivari instruments are those of the Library of Congress with three violins, a viola, and a cello, the Agency of National Estates of Spain, with a quartet of two violins, the Spanish I and II, the Spanish Court cello, and the Spanish Court viola, exhibited in the Music Museum at the Royal Palace of Madrid (Palacio Real de Madrid]][61] and the Royal Academy of Music's Collections with several instruments by Antonio Stradivari, including the Joachim (1698), Rutson (1694), the Crespi (1699), Viotti ex-Bruce (1709), Kustendyke (1699), Maurin (1718) and the Ex Back (1666) violins, Ex Kux (1714), and the Archinto (1696) violas, the Marquis de Corberon (1726) and the Markevitch (1709) celli.[62][63] The Musée de la musique in Paris displays several beautiful Stradivari instruments that formerly belonged to the Paris Conservatory.
The collection of The New Jersey Symphony Orchestra had the largest number of Stradivari in its string section, purchased in 2003 from the collection of Herbert R. Axelrod, until it recently decided to sell them off. A collection assembled by Rodman Wanamaker in the 1920s contained as many as 65 stringed instruments by such masters as Stradivari, Gofriller, Baptiste and Giuseppe Guarneri. Included was The Swan, the last violin made by Stradivari,[64] and soloist instrument of the great Cuban 19th-century virtuoso Joseph White.[65] The collection, known as The Cappella, was used in concerts with the Philadelphia Orchestra and Leopold Stokowski before being dispersed after Wanamaker's death. The Vienna Philharmonic uses four violins and one cello. The Metropolitan Museum of Art has three Stradivari violins dated 1693,[66] 1694[67] and 1717.[68] The National Music Museum, in Vermillion, South Dakota, has in its collection one of two known Stradivari guitars,[69] one of eleven known violas da gamba, later modified into a cello form, one of two known choral mandolins, and one of six Stradivari violins that still retain their original neck. In the interests of conservation, the Messiah Stradivarius violin—on display in the Ashmolean Museum in Oxford, England—has not been played at all in recent years.[70]
In fiction
There are numerous references to Stradivari violins in fiction, including:
Literature
- In Sir Arthur Conan Doyle's stories, Sherlock Holmes owns and plays a Stradivari violin.[71][72]
Television
- Vizit k Minotavru - TV mini series produced by Gorky Film Studios, USSR.
- The Jack Benny Program episode "The Stradivarius Story"[73] featured violinist and then Oberlin music professor Stuart Canin. (Years before, comedian Fred Allen had Canin, then age 10, appear on Allen's radio show; Allen featured Canin as a better violinist than Benny.) Benny actually owned a Stradivarius violin, which was donated to the Los Angeles Philharmonic on Benny's death.
- The Simpsons episode "Homer's Barbershop Quartet"
- The Three Stooges Nine shorts feature Larry Fine playing his Stradivarius, often destroying it in dramatic fashion.
- Episode 36 of Detective School Q
- Episode 385-387 of Detective Conan
- Episode "Pulling Strings" of White Collar
- Episode "The Scheherazade Job" of Leverage
- In an episode of The Morecambe and Wise Show, the duo destroy a Stradivarius violin worth £12,500.
- During an episode of TNA Impact in a segment dubbed "The Final Deletion", Matt Hardy would summon Brother Nero using a Stradivarius violin.
Film
- The Living Daylights (1987)
- Stradivari, 1989 biopic directed by Giacomo Battiato, which starred Anthony Quinn as Antonio[74]
- The Red Violin, inspired by one of Stradivari's violins, the Red Mendelssohn (1721)[75]
Video games
- Final Fantasy Tactics A2: Grimoire of the Rift in the Final Fantasy Tactics Advance video game series
- Fallout 3: the player is tasked with retrieving the Soil Stradivarius (Itzhak Perlman's current violin) from a vault.
See also
References
Notes
- ↑ http://www.britannica.com/biography/Antonio-Stradivari
- ↑ Saunders, Emma (21 June 2011). "What makes the Stradivarius violin so special?". Entertainment & Arts. BBC News. Archived from the original on 22 June 2011. Retrieved 2011-06-21.
- ↑ "The Big Question: Why do Stradivarius violins fetch so much, and are they worth it?". The Independent. 4 April 2007. Retrieved 28 June 2011.
- ↑ "How many Antonio Stradivari instruments still exist in the world ?". 5magazine.wordpress.com. Archived from the original on 23 June 2011. Retrieved 28 June 2011.
- ↑ Hill et al (1963), p. 3
- ↑ Fuller-Maitland et al (1922), p. 707
- ↑ Chapin, Anna Alice. The Heart of Music: The Story of the Violin. New York: Dodd, Mead and Co., 1921. 268.
- ↑ Hill et al (1963), p. 4
- ↑ Hill et al (1963), p. 6
- ↑ Pollens (2010), p. 11
- ↑ Pollens (2010), p. 12
- 1 2 Faber (2006), p. 26
- ↑ Faber (2006) p. 25
- 1 2 Hill et al (1963), p. 27
- 1 2 Hill et al (1963), p. 26
- ↑ Hill et al (1963), p. 25
- ↑ Faber (2006), p. 27
- ↑ Hill et al (1963), p. 28
- ↑ Hill et al (1963), p. 8
- ↑ Faber (2006), p. 28
- 1 2 3 Hill et al (1963), p. 10
- ↑ Fuller-Maitland et al (1922), p. 708
- 1 2 Pollens (2010), p. 22
- 1 2 Hill et al (1963), p. 12. A visit to the loft is described by H.R. Haweis, My Musical Life (1892), pp.322-328.
- 1 2 Pollens (2010), p. 26
- ↑ Faber (2006), p. 59
- ↑ Shoenbaum, David, The Violin: A Social History of the World's Most Versatile Instrument, Norton, 2013, p.30
- ↑ Shoenbaum, David, The Violin: A Social History of the World's Most Versatile Instrument, Norton, 2013, p.31
- ↑ Hill et al (1963), p. 33
- ↑ Hill et al (1963), p. 34
- ↑ Pollens (2010), p. 16
- 1 2 Hill et al (1963) pp. 36–37
- ↑ Faber (2006), p. 41
- ↑ Hill et al (1963), pp. 37–38
- ↑ Hill et al (1963), p. 39
- ↑ Hill et al (1963), p. 40
- ↑ Faber (2006), pp. 29–30
- ↑ Hill et al (1963), p. 41
- ↑ Petherick (1900), p. 13
- ↑ Hill et al (1963), p. 149
- ↑ Hill et al (1963), p. 45
- ↑ Hart (1875), p. 131
- ↑ Gindin, Dmitry. "Copying the best of Cremona: a brief survey, part 1". Tarisio. Retrieved 16 September 2015.
- ↑ Dilworth, John. "Stradivari and his sons, Part 1". Tarisio. Retrieved 16 September 2015.
- ↑ Beamen, John (2000). The Violin Explained: Components, Mechanism, and Sound. Oxford University Press. pp. 89–90. ISBN 0-19-816739-3. Retrieved 2009-01-23.
- ↑ Coggins, Alan (February 2007). "Blind Listening Tests". The Strad: 52–55. Retrieved 2011-03-14.
- ↑ "Violinists can't tell the difference between Stradivarius violins and new ones" by Ed Yong, Discover, 2 January 2012.
- ↑ "Player preferences among new and old violins", Fritz, Curtin, Poitevineau, et al. PNAS 2011.
- ↑ Weatherly, Myra (2006). Yo-Yo Ma: Internationally Acclaimed Cellist. Minneapolis, MN: Compass Point. p. 62. ISBN 0-7565-1879-2.
- ↑ Woodstra, Chris, Brennan, Gerald & Allen Schrott (eds.) All Music Guide to Classical Music: The Definitive Guide to Classical Music. Berkeley, CA: All Media Guide, 2005. 758. ISBN 0-87930-865-6
- ↑ Libbey, Ted. The NPR Guide to Building a Classical CD Collection, Second Edition. New York: Workman, 1999. 309. ISBN 0-7611-0487-9
- ↑ Kalbacker, Warren. "The Rotarian Conversation: Itzhak Perlman." The Rotarian 188.5 (November 2009): 48–51.
- ↑ 21st Century Violinists. San Anselmo, CA: String Letter Publishing, 1999. 96. ISBN 1-890490-26-1
- ↑ Granata, Charles L. Sessions with Sinatra: Frank Sinatra and the Art of Recording. Chicago, IL: A Capella, 2004. 126. ISBN 1-55652-509-5
- ↑ Lee, Laura. The Name's Familiar II. Gretna, LA: Pelican, 2001. 199. ISBN 1-56554-822-1
- ↑ Julie Carlson (May 2005). "Strad Mad". Artfact. Archived from the original on 21 April 2009. Retrieved 2007-04-07.
- ↑ Klein, Ellery. The Complete Idiot's Guide to Playing the Fiddle. New York: Alpha Books, 2008. 23. ISBN 978-1-59257-768-2
- ↑ Associate Press (April 2007). "Stradivari violin goes for $2.7M". Yahoo! News. Archived from the original on 5 April 2007. Retrieved 2007-04-07.
- ↑ Auctions, Tarisio. "'Lady Blunt' Stradivarius of 1721". tarisio.com. Retrieved 8 May 2012.
- ↑ Auctions, Tarisio. "'Baron von der Leyen' Stradivarius of c.1705". tarisio.com. Retrieved 8 May 2012.
- ↑ "Violins, violas, cellos & double basses owned by Royal Palace in Madrid". Cozio. 2008. Archived from the original on 3 May 2008. Retrieved 2008-03-26.
- ↑ "Royal Academy of Music Museum". Royal Academy of music. Retrieved 14 October 2009.
- ↑ "Stradivarius Exhibition". International Music Academy of Montpellier. Retrieved 14 October 2009.
- ↑ Malan, Roy. Efrem Zimbalist: A Life. Pompton Plains, NJ: Amadeus, 2004. 176. ISBN 1-57467-091-3
- ↑ Bachmann, Alberto Abraham. An Encyclopedia of the Violin. Da Capo Press, 1966. 411. ISBN 0-306-80004-7
- ↑ "Violin, 1693", "Heilbrunn Timeline of Art History", Metropolitan Museum of Art, accessed 2 February 2011.
- ↑ "Violin: "The Francesca," 1694", "Heilbrunn Timeline of Art History", Metropolitan Museum of Art, accessed 2011-02-02.
- ↑ "Violin: "The Antonius," 1717", "Heilbrunn Timeline of Art History", Metropolitan Museum of Art, accessed 2 February 2011.
- ↑ Hunhoff, Bernie. South Dakota Curiosities: Quirky Characters, Roadside Oddities & Other Offbeat Stuff. Guildford, CT: Insiders' Guide, 2007. 171. ISBN 978-0-7627-4336-0
- ↑ "Violin: Antonio Stradivari". Highlights of the Ashmolean. Ashmolean Museum. Retrieved 2008-07-04.
In recent years, it has not been played at all owing to the demands of conservation
- ↑ "Sherlock Holmes Shoppe: Feature Article Page". sherlock-holmes.com.
- ↑ Doyle, Sir Arthur Conan. "The Adventure of the Cardboard Box". In The Original Illustrated 'Strand' Sherlock Holmes. Wordsworth Editions. 307–319. ISBN 1-85326-896-8.
- ↑ "The Stradivarius Story" at the Internet Movie Database
- ↑ Stradivari at the Internet Movie Database
- ↑ Klein, Ellery. The Complete Idiot's Guide to Playing the Fiddle. New York: Alpha Books, 2008. ISBN 978-1-59257-768-2
Sources
- Faber, Toby (2006). Stradivari's Genius: Five Violins, One Cello, and Three Centuries of Enduring Perfection. New York: Random House. ISBN 0-375-76085-7.
- Fuller-Maitland, John Alexander; Grove, George; Pratt, Waldo Selden (1922). "Stradivari, Antonio". Grove's Dictionary of Music and Musicians. 4. Philadelphia: Theodore Presser Company. pp. 707–712. Retrieved 27 November 2010.
- Hart, George (1875). The violin: its famous makers and their imitators. London: Dulau. Retrieved 2011-08-05.
- Haweis, Hugh Reginald (1898). My Musical Life. London: Longman's, Green & Co.
- Henly, W (1961). Antonio Stradivari: Master Luthier. Brighton: Amati Publishing.
- Hill, W. Henry; Hill, Arthur F; Hill, Alfred E (1963). Antonio Stradivari: His Life & Work. New York: Dover Publications. ISBN 0-486-20425-1.
- Petherick, Horace (1900). Antonio Stradivari. New York: Scribner.
- Pigaillem, Henri (2001). Stradivarius: sa vie, ses instruments. Paris: Zurfluh.
- Pollens, Stewart (2010). Stradivari. Cambridge: Cambridge University Press. ISBN 978-0-521-87304-8.
External links
Media related to Antonio Stradivari at Wikimedia Commons- Nippon Music Foundation
- Stradivari Society
- Violin Making at The Violin Site
- Instruments of Antonio Stradivari on the online database MIMO, website mimo-international.com.
- The National Music Museum
- Real Conservatorio Superior de Música, Madrid
- Information on Antonio Stradivari
- Antonius Stradivarius
- Archivio della liuteria cremonese
- The Four Centuries Gallery - Antonio Stradivari
- Stradivari and his sons, Part 1
- Stradivari and his sons, Part 2
- Articles
- Secrets of the Stradivari
- Wali, Kameshwar C. (Spring 2000). "William F. Fry: A Physicist's Quest for the "Secrets" of Stradivari". Wisconsin Academy Review. 46 (2).
- Cremona Violins – A Physicist's Quest for the Secrets of Stradivari by Kameshwar C Wali – Preface, Chapter 1
- Digital Stradivari: computer models of violins reveal master luthier's techniques, 13 November 2009
- Kestenbaum, David, "Is A Stradivarius Just A Violin?", NPR, 16 May 2014
- Historical books
- Antoine Stradivari, luthier célèbre connu sous le nom de Stradivarius By François-Joseph Fétis, Jean-Baptiste Vuillaume
